Novinky
Zobrazit všechny novinky- Úvod
- Pohony
- Náhradní díly
- Křídlové
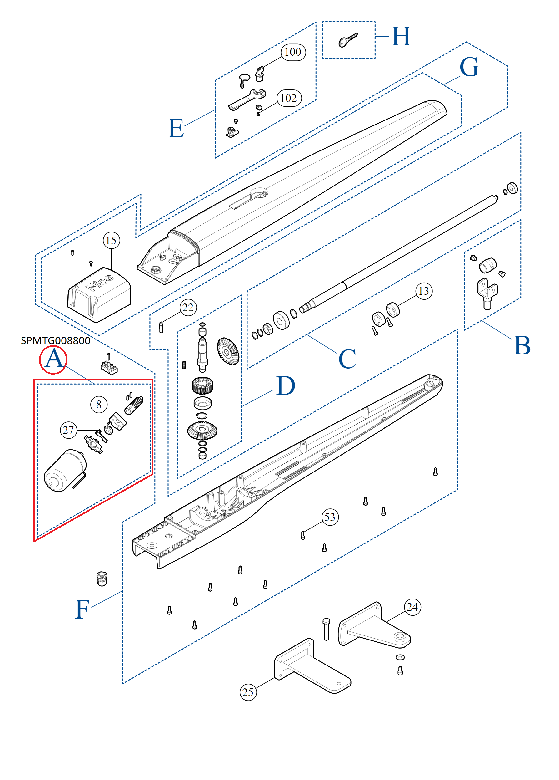
- SPMTG08800 kit motoru pro TO7024
SPMTG08800 kit motoru pro TO7024
- Kompletní specifikace
- Ke stažení
SPMTG08800 kit motoru pro TO7024Skladem4 759,14 Kč/ KS3 933,18 Kč bez DPH
Kompletní specifikace
SPMTG08800 kit motoru pro TO7024.
Přesný rozpis náhradních dílů naleznete na stránce www.kovianportal.cz.
Ke stažení
Zboží zařazeno v kategoriích
